Malzeme bilgisi
Karbon Fiber, mükemmel fiziksel ve kimyasal özelliklere sahip, yüksek mukavemetli, yüksek modüllü, yumuşak ve işlenebilir bir fiber malzeme türüdür. Karbon Elyaf Takviyeli Polimer/Plastik CFRP, enerji tesislerinde, havacılıkta, askeri teçhizatta, demiryolu taşımacılığında ve spor malzemelerinde yaygın olarak kullanılmaktadır. Küresel karbon elyaf talebi 2020'de 107,000 tona ulaştı ve büyümeye devam ediyor. Guangzhou Saio'nun "2020 Küresel Karbon Elyaf Kompozit Pazar Raporu", küresel karbon elyaf talebinin 2025'te 200,000 tonu kıracağını öngördü.
CFRP'nin artan uygulamasıyla, işleme, kullanım ve atık sürecinde giderek daha fazla atık üretiliyor. Örneğin, rüzgar enerjisi teknolojisi son yıllarda hızla tanıtıldı, ancak kanatların hizmet ömrü yalnızca 20-30 yıldır. 2030 yılına kadar, CFRP rüzgar enerjisinin atılan kanatları yılda on binlerce tona ulaşacak. Sivil havacılık sektöründe, dünya çapında yaklaşık 8.500 uçak 2025 yılına kadar kullanımdan kaldırılacak ve CFRP atıklarının gövdelerinden geri dönüştürülmesi zorlu bir iş. İnsanların çevre bilincinin gelişmesiyle birlikte, CFRP atık bertarafının ilgili çevre yasaları ve düzenlemeleri giderek daha katı hale geliyor. Karbon fiberin geri dönüşüm için verimli bir şekilde nasıl geri dönüştürüleceği şu anda sıcak bir konu haline geldi.
CFRP'nin işlenmesinde kullanılan reçine, termoplastik reçine ve ısıyla sertleşen reçine olarak ikiye ayrılır. Termoplastik reçine matris kompozitlerinin geri kazanım yöntemi basittir, ancak termoplastik reçinenin erime sürecindeki viskozitesi yüksektir, reçinenin elyaf yüzeyine yapışması zayıftır ve kompozit malzemenin arayüz özelliği zayıftır, bu da performansı etkiler ürünlerin. Şu anda, CFRP matrisi, doymamış reçine, fenolik reçine ve epoksi reçine gibi esas olarak ısıyla sertleşen bir reçinedir. Sertleşmeden sonra, termoset reçine, termoplastik reçine ile karşılaştırıldığında CFRP'nin fiziksel özelliklerini geliştirebilen üç boyutlu bir ağ çapraz bağlı yapı oluşturacaktır.

CFRP kurtarma teknolojisi
CFRP doğal olarak parçalanamaz, yakma veya depolama erken arıtma yöntemidir, ancak CFRP atık yakma çok sayıda toksik ve zararlı gaz üretecek ve doğal çevreyi etkileyecek, aynı zamanda, depolama yakma atık kalıntısı da toprağa neden olacaktır. ikincil kirlilik; CFRP atıklarının düzenli depolamada arıtılması toprağı kirletecek ve çok sayıda arazi kaynağını işgal edecektir. Bu makale esas olarak CFRP geri kazanımında mekanik geri kazanım yöntemi, ısı geri kazanım yöntemi ve solvent geri kazanım yönteminin uygulanmasını tanıtmakta ve pratik uygulamada her yöntemin zorluklarını ve beklentilerini açıklamaktadır.
(1) Mekanik kurtarma yöntemi. Mekanik geri kazanım yöntemi, CFRP atığının mekanik kuvvet etkisi altında yuvarlanması ve öğütülmesidir, böylece karbon fiber reçine matrisinden sıyrılır, reçine parçacıkları ve kısa karbon fiber işlemden sonra elde edilebilir. Milimetre ölçeğinde kesilmiş fiber, yapı dolgu maddesi olarak kullanılabilir ve mikron ölçekli kesilmiş fiber, levha kalıplama plastiği, blok kalıplama plastiği veya termoplastik karışım dolgu maddesi olarak kullanılabilir. Mekanik geri kazanım yöntemi, basit bir işlem ve düşük yatırım maliyeti avantajlarına sahiptir. Elyaf ve reçineyi geri kazanırken yeni çevre kirliliği üretmez. Bununla birlikte, reçine ve elyafın ayrılma işlemi sırasında mekanik kuvvet elyafta hasara neden olur ve elyaf performans tutma oranı düşüktür.
(2) Isı geri kazanım yöntemi. Farklı işlem yollarına göre, ısı geri kazanım yöntemi, yüksek sıcaklıkta termal ayrışma yöntemine, akışkan yataklı termal ayrışma yöntemine ve mikrodalga termal ayrışma yöntemine ayrılabilir. Prensip, reçineyi ısı enerjisinin etkisi altında küçük moleküler bileşiklere ayrıştırmaktır.
① Yüksek sıcaklıkta termal ayrışma yöntemi. İlk olarak, CFRP atığı, mekanik kuvvetin etkisi altında parçalara ayrılır. Parçalar, inert gaz atmosferi altında 600±200 dereceye kadar ısıtılır ve reçine, oksijensiz koşul altında düşük moleküler piroliz yağına ve piroliz gazına ayrıştırılır. Piroliz gazı esas olarak karbondioksit, hidrojen ve metandan oluşur. Daha sonra sisteme uygun miktarda oksijen enjekte edin, böylece düşük moleküler yanıcı yanma, yanma tarafından üretilen ısı sistem için ısı enerjisi sağlamaya devam eder. Gelen sistemdeki oksijenin hassas kantitatif kontrole ihtiyacı vardır. Aşırı oksijen alımı sistemin patlama riskini artıracaktır. Bu arada, geri dönüştürülmüş karbon fiberin peroksidasyonuna da neden olacak ve fiberin mekanik özelliklerini azaltacaktır. Oksijen alımı çok düşüktür ve elyaf yüzeyindeki kalıntı reçine ve pirolitik yağ tamamen çıkarılamaz, bu da elyafın bitimini etkiler. Yüksek sıcaklıkta pirolizin sıcaklığı reçine tipine bağlıdır. Genel olarak, polyester reçinesi daha düşük bir sıcaklıkta ayrışabilirken, epoksi reçinesinin daha yüksek bir sıcaklıkta ayrışması gerekir. Basit işlem ve yüksek geri kazanım nedeniyle, endüstride yüksek sıcaklıkta termal ayrışma yöntemi uygulanmıştır. Yüksek sıcaklıkta termal ayrışma işleminden sonra, kısa karbon fiberin pürüzsüz yüzeyi elde edilebilir, ancak fiberin işlenmesinden sonra farklı derecelerde oksidasyon meydana gelir ve fiberin yüzeyinde bazen mekanik özellikleri etkileyen karbon birikimi meydana gelir. elyafın.
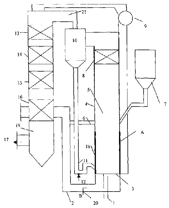
② Akışkan yataklı termal ayrıştırma yöntemi. Akışkan yataklı termal ayrışma ile CFRP geri kazanım süreci Şekil 1'de gösterilmektedir. Kompozit malzeme atık malzemeden ithal edilir ve akışkan yatağa eklenir. Kompozit malzemedeki reçine, sıcak hava akış alanında yüksek sıcaklıklarda ayrışır ve ayrışan piroliz gazı yanma yoluyla sistemin ısı enerjisi olarak devam eder. Termal ayrışmadan sonra, siklon ayırıcıda karbon elyafı ve reçine parçacıkları geri kazanılır. Termal akış, geri kazanılan elyafı elyaf tankına alırken, refrakter malzeme akışkan yatağın dibinde bırakılır. Akışkan yataklı piroliz ile işlenen CFRP, sürekli üretim elde etmek için sürekli olarak akışkan yatağa beslenebilen ve geri dönüşümle kısa karbon elyafı elde edilebilen genellikle 2 ~ 3cm² boyutundadır. Siklon ayırıcının iç duvarı ile akışkan yataktaki gaza bağlı çakıl ve elyaf arasındaki sürtünme bir miktar mekanik hasara neden olacaktır, bu nedenle bu işlemden sonra elyafın çekme mukavemeti yaklaşık 1/4 oranında azalacaktır.

③ Mikrodalga termal ayrıştırma yöntemi. CFRP, bir mikrodalga ışıma alanına yerleştirildi ve reçine, küçük moleküler bileşiklere ayrışması için mikrodalga ile ısıtıldı. Mikrodalga termal ayrışma yöntemi, karbon fiber geri kazanımı için gereken süreyi etkili bir şekilde kısaltabilir, ekipman sayısı nispeten küçüktür ve işlem işlemi basittir.
(3) solvent geri kazanım yöntemi. Solvent geri kazanım yöntemi, elyaf ve reçinenin ayrılmasını sağlamak için reçinenin bozunması ve çözünmesi yoluyla, yıkamadan sonra karbon elyafı ve elyafı geri kazanmak için kurutma yoluyla, solvent içindeki CFRP atığı içindeki reçinenin çözünebilir maddelere indirgenmesi anlamına gelir. Çözücü geri kazanım yöntemleri genel olarak normal basınç altında sıradan çözücü yöntemleri ve yüksek basınç altında süperkritik çözücü yöntemi olarak ikiye ayrılır.
① Yaygın çözücü yöntemi. Yaygın çözücü yöntemi, atmosferik basınç altında bozunma reçinesinin reaksiyon çözücüsü olarak nitrik asit ve alkol kullanır; bu, kullanımı basit ve ekipman girdi maliyeti düşüktür. Geri kazanılan elyaf temel olarak orijinal elyaf uzunluğunu korur ve kompozit malzemelerde tekrar uzun elyaf olarak kullanılabilir. Bununla birlikte, reçinenin çözücü içindeki bozunma süresi daha uzundur ve kullanımdan sonra atık çözücü arıtımı zordur, bu da geri kazanım maliyetini artırır ve kolayca çevre kirliliğine neden olur. Kompozit malzemenin farklı şekillendirme işlemlerine göre kullanılan reçine farklıdır ve kullanılan işlem farklıdır.
② Süper kritik çözücü yöntemi. Bir maddenin sıcaklığı ve basıncı belirli bir kritik sıcaklık ve basıncı aştığında, yüksek sıkıştırılabilirlik, yüksek çözünürlük, yüksek geçirgenlik, yüksek yayılma, düşük yoğunluk ve düşük viskozite özel durumuna "süperkritik durum" denir ve bu durumda çözücü duruma "süperkritik çözücü" denir. CFRP atık reçinesi, polimer malzemelerin yüksek çözünürlüğüne ve yüksek geçirgenliğine sahip süperkritik bir çözücü ile parçalandı ve karbon fiber geri kazanımının amacı gerçekleştirildi. Bu geri dönüşüm yöntemini kullanarak, lif yüzeyi pürüzsüzdür, lif orijinal uzunluğunu korur, lif performansı yüksektir, geri dönüşüm işlemi yeni kirlilik, yeşil çevre koruma üretmez. Ancak bu yöntemin uygulanması, büyük bir ekipman yatırımı ve zorlu proses koşulları gerektirmekte olup, halen geçici olarak laboratuvar aşamasındadır ve endüstriyel bir aşamaya dönüşmemiştir.
beklenti
Karbon elyaf üretim teknolojisinin ilerlemesiyle birlikte, karbon elyaf üretimi artarken aynı zamanda üretim maliyeti kademeli olarak düşer, çeşitli alanlardaki uygulaması artmaya devam edecek ve CFRP geri kazanımı ve yeniden kullanımı, yaygın karbon uygulamasını kısıtlayan önemli bir sorun haline gelmiştir. lif.
